Skip to content
Menu
Motorcyclist
    • news
    • buyers guide
    • new motorcycles
    • used motorcycles
    • reviews
    • gear
    • on two wheels
    • photo galleries
    • videos
    • mc garage
    • mc commute
    • mc travel
    • motorcyclist podcast
    • newsletter
    • youtube
    • facebook
    • instagram
    • x
    • News

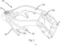
    Carbon-Fiber Technology: A Carbon-Framed Future for BMW?

    Is Carbon Fiber Motorcycling’s Next Aluminum?

    By Ben Purvis
    December 22, 2015

    More News

    • News
      2027 KTM Freeride E First Look
    • News
      LiveWire Acquires US Startup Dust Moto
    • News
      2026 LiveWire S4 Honcho First Look
    • News
      2026 KTM 1390 Super Duke RR First Look
    • News
      Honda CB500 Super Four and CBR500R Four Officially Unveiled

    Latest

    News
    2027 KTM Freeride E First Look
    News
    2026 KTM 1390 Super Duke RR First Look
    News
    CFMoto Preps Larger 550CL-C Cruiser
    News
    LiveWire Acquires US Startup Dust Moto
    News
    Honda CB500 Super Four and CBR500R Four Officially Unveiled
    News
    2027 Bimota KB399 First Look
    News
    2026 LiveWire S4 Honcho First Look
    News
    2026 Honda Transalp Gets Automated E-Clutch
    News
    Honda CB400 Super Four and CBR400R Four Shown in Japan
    • News
      2026 Honda Transalp Gets Automated E-Clutch
    • News
      CFMoto Preps Larger 550CL-C Cruiser
    • News
      2027 Bimota KB399 First Look
    • News
      Honda CB400 Super Four and CBR400R Four Shown in Japan
    • News
      2026 Triumph Daytona 660 First Look
    • News
      Harley-Davidson RMCR Concept Hints at Future Café Racer
    • News
      Ducati DesertX V2 2026 First Look
    • News
      New-Generation KTM 790 Duke Leaked Ahead of Launch
    • News
      TVS RTR HyprStunt Might Bring Stunt Bike Style to Showrooms
    • News
      Interview: Indian’s New CEO Mike Kennedy
    • News
      2026 MV Agusta Rush Titanio First Look
    • News
      George Barber Jr., Barber Vintage Motorsports Museum Founder, Dies At 85
    • News
      2026 Kawasaki KLX300R First Look
    • News
      2026 Ducati Formula 73 First Look
    • News
      2026 Kawasaki KX85, KX85 L, and KX112 First Look
    • Honda
      2025 Honda Dax 125
    • Honda
      2025 Honda NX500
    • Honda
      2025 Honda Transalp
    • Honda
      2025 Honda Fury
    • Honda
      2025 Honda CBR650R E-Clutch
    • News
      2026 Triumph Tiger Sport 800 Tour Preview
    • Reviews
      Aprilia RS660 Factory MC Commute
    • News
      Motorcycles We’re Excited to Review in 2026
    • Honda
      2025 Honda CRF300L/CRF300LS
    Motorcyclist
    • Privacy Policy
    • Abuse
    • Terms of Use
    • Contact Us

    Many products featured on this site were editorially chosen. Motorcyclist may receive financial compensation for products purchased through this site.

    Copyright © 2026 Motorcyclist. An Octane Media, LLC Publication. All rights reserved. Reproduction in whole or in part without permission is prohibited.

    Octane